LPRE.DE announces the release of a new version of Rocket Propulsion Analysis (RPA), a free tool for analysis of liquid propellant rocket engines.

ЖРД РД-170 (11Д521) и РД-171 (11Д520)

Abstract

The RD-170/171 (Rocket Engine-170/171) are the world's most powerful liquid propellant rocket engines, designed and produced by NPO Energomash for use with Energia and Zenit launch vehicles. Engines use high performance staged combustion cycle with oxygen rich turbine drive gases. The article provide an information about the development history, key design parameters and operating characteristics of the engines.

Предыстория

К началу работ над двигателями 11Д520 и 11Д521 НПО "Энергомаш" (прежние названия ОКБ-456 и КБ ЭМ) обладал опытом создания двигателей с высоким давлением в КС, построенных по замкнутой схеме и работавших на высококмпящих компонентах (AT и НДМГ).

В частности, для баллистических ракет были созданы двигатели 15Д119 (РД-263/264) тягой Pз=1040 кН (106 т) и давлением в КС 20.6 МПа, и 15Д168 (РД-268) тягой Pз=1147 кН (117 т) и с давлением в КС 22.6 МПа. В процессе работы над этими двигателями на заводе при КБ усовершенствовали технологию стального литья сложных силовых деталей (например, корпусов насосов и агрегатов автоматики, которые ранее изготавливаться из цветных металлов). Для исключения возникновения неустойчивости горения в камере ЖРД были внедрены пластмассовые антипульсационные перегородки, устанавливаемые на смесительную головку и способствовавшие затуханию пульсаций давления.

Определенный задел был обеспечен также разработкой двигателя 8Д420 (РД-270) тягой 640 т и давлением в КС 26.1 МПа, работающего по схеме "газ-газ". Среди прочего, для этого двигателя были разработаны специальные стояночные уплотнения ТНА для обеспечения многократности запуска, а для уменьшения массы и габаритов ТНА была разработана конструкция бустерных насосов с расположением лопаток турбины непосредственно на рабочем колесе-шнеке насосна.

Опыт проектирования и экспериментальных испытаний крупномасштабных двигателей и агрегатов, работающих при давлениях до 60 МПа, а также освоенные технологии изготовления таких агрегатов были использованы при работе над двигателями 11Д520 и 11Д521.

Краткая хронология создания двигателя

1973 г. - начало проектно-расчетных исследований и конструкторских проработок. Разработаны технические предложения по двигателям РД-123 с тягой 800 т и РД-150 с тягой до 1500 т.

1974 г. - начало экспериментальных исследований по отработке химического зажигания, смесеобразования в камере сгорания и газогенераторе, высокочастотной устойчивости рабочего процесса в камере и газогенераторе, многоразовости запуска.

Исследования проводились на двигателе-аналоге, созданном на базе серийного двигателя 15Д168. Двигатель был конвертирован для работы на жидком кислороде и керосине. На новых компонентах при давлении в КС 20 МПа двигатель развивал тягу 90 т.

Всего было проведено более 300 испытаний на 200 экземплярах с суммарной наработкой по времени в 20 тыс.с. По результатам исследований были рекомендованы: пятикратный запас ресурса, запас по разгрузке осевой силы на валу ТНА не менее 20%, исключение возможности работы насосов в зоне частичной кавитации, а пульсация давления должна быть не более 1-2 % рабочего уровня. Предусматривалось особое внимание уделить стойкости материалов в среде окислительного газа.

Было введено контрольно-технологическое испытание для каждого двигателя, без переборки.

Февраль-март 1976 г. - правительством принято решение о разработке ракетных систем "Энергия"-"Буран" и "Зенит".

Ноябрь 1976 г. - разработан эскизный проект двигателя РД-170 со следующими характеристиками: тяга на земле 740 т, в пустоте - 806,4 т; удельный импульс на земле 309,3 с, в пустоте - 337 с; давление в камере сгорания 250 атмосфер, в газогенераторе - до 583 атмосфер; мощность турбины до 297,260 л.с.

25 августа 1980 г. - состоялось первое огневое испытание двигателя РД-171 (варианта двигателя РД-170 для РН "Зенит").

9 июня 1981 г. - первое огневое испытание двигателя РД-171 № A15, успешно отработавшего заданные 150 с по намеченной программе испытаний.

26 июня 1982 г. - первое огневое испытание двигателя РД-171 № A18 на стенде НИИХиммаш в составе первой ступени РН "Зенит". Пуск закончился аварией, разрушившей единственный в СССР стенд, пригодный для проведения испытаний ступени ракеты с двигателем такой мощности.

Май 1983 г. - первое успешное огневое испытание двигателя РД-171 на номинальном режиме.

1 декабря 1984 г. - первое успешное огневое испытание двигателя РД-171 на стенде НИИХиммаш в составе первой ступени РН "Зенит".

13 апреля 1985 г. - первый пуск РН "Зенит" с двигателем РД-171 в составе первой ступени, завершившийся аварией из-за отказа системы управления расходом топлива второй ступени.

Июнь 1985 г. - второй пуск РН "Зенит" с двигателем РД-171 в составе первой ступени, завершившийся аварией в результате отклонений в работе рулевых двигателей второй ступени и последовавшего взрыва в конце активного участка.

Октябрь 1985 г. - третий (первый успешный) пуск РН "Зенит" с двигателем РД-171 в составе первой ступени.

Ноябрь 1985 г. - первое стендовое испытание двигателя РД-170 в составе блока "А" РН "Энергия". Двигатель успешно отработал заданное время.

15 мая 1987 г. - первый пуск РН "Энергия" с двигателями РД-170 в составе первой ступени.

Декабрь 1987 г. - завершение летных испытаний РН "Зенит" с двигателем РД-171 в составе первой ступени.

15 ноября 1988 г. - второй пуск РН "Энергия" с двигателями РД-170 в составе первой ступени.

4 октября 1990 г. - пятнадцатый пуск РН "Зенит", завершившийся аварией на третьей секунде полета в результате взрыва двигателя первой ступени. По заключению аварийной комиссии отказ двигателя произошел вследствие разрушения узла качания газового тракта второй камеры. Наиболее вероятной причиной возгорания явилось попадание во внутреннюю полость узла качания инициатора возгорания в виде вещества органического происхождения с концентрированным выделением тепла при сгорании более 30 килоджоулей.

27 июля 1991 г. - шестнадцатый пуск РН "Зенит" не состоялся из-за незапуска двигателя первой ступени.

20 мая 1997 г. - двадцать восьмой пуск РН "Зенит", завершившийся аварией на 49-й секунде полета в результате произошло аварийного выключения двигателя первой ступени. Ракета упала 28 километрах от стартового комплекса.

9 сентября 1998 г. - пуск РН "Зенит", завершившийся аварией на 72-й секунде полета.

25 марта 2004 г. - поставка первого товарного двигателя РД-171М для РН "Зенит-3SL" для программы "Морской старт".

5 июля 2004 г. - двигатель РД-171М сертифицирован для использования в составе РН "Зенит-3SL" для программы "Морской старт".

15 февраля 2006 г. - первый пуск РН "Зенит-3SL" с РД-171М.

25 апреля 2006 г. - решением Минобороны РФ и Роскосмоса двигателям РД-171М присвоена литера "О1", которая разрешает применение двигателя в составе РН "Зенит-М" при реализации государственных программ.

30 января 2007 г. - пуск РН "Зенит-3SL" с морской стартовой платформы Odyssey завершившился аварией. Ракета взорвалась на старте. Российско-украинская межведомственная комиссия по расследованию аварии установила, что причиной аварии явилось возгорание случайно привнесенной извне металлической частицы в насосе окислителя.

29 июня 2007 г. - первый пуск РН "Зенит-М" с двигателем РД-171М, осуществленный с пусковой установки № 1 пл. № 45 Государственного испытательного космодрома Байконур.

26 апреля 2008 г. - первый пуск РН "Зенит-3SLБ" с РД-171М по программе "Наземный старт", осуществленный с Государственного испытательного космодрома Байконур.

25 декабря 2009 г. - при проведении огневого приемочного испытания двигателя РД-171М на стенде ОАО "НПО Энергомаш" произошел отказ двигателя с разрушением материальной части двигателя и отдельных систем стенда. Комиссия, рассмотрев результаты обработки телеметрических измерений и результаты анализа состояния материальной части, заключила следующее: отказ двигателя при его работе на номинальном режиме тяги произошел в результате возгорания на 17.6 сек в газовой полости за турбиной ТНА в месте соединения выхлопного коллектора турбины с газовым трактом одной из камер (камера №2). Развитие горения привело на 18.2 сек к разрушению газового тракта двигателя за турбиной, взрыву и пожару. Инициирование возгорания произошло в результате попадания внутрь газовой полости постороннего предмета (вещества) в процессе изготовления двигателя, который не мог быть обнаружен проведенными штатными процедурами осмотра и контроля. Признана наиболее вероятной органическая природа постороннего предмета (вещества) попавшего внутрь газового тракта в процессе работ с подсборкой «блок газоводов» двигателя.

Общие сведения

Двигатель выполнен по замкнутой схеме с дожиганием окислительного генераторного газа после турбины.
Компоненты топлива: окислитель - жидкий кислород, горючее - керосин.

Двигатель состоит из четырех камер сгорания, турбонасосного агрегата (ТНА), бустерного насосного агрегата горючего (БНАГ), бустерного насосного агрегата окислителя (БНАО), двух газогенераторов, блока управления автоматикой, блока баллонов, системы приводов автоматики (СПА), системы рулевых приводов (СРП), регулятора расхода горючего в газогенераторе, двух дросселей окислителя, дросселя горючего, пуско-отсечных клапанов окислителя и горючего, четырех ампул с пусковым горючим, пускового бачка, рамы двигателя, донного экрана, датчиков системы аварийной защиты, двух теплообменников для подогрева гелия на наддув бака окислителя.

Одна из основных конструктивных особенностей этого двигателя - наличие четырех камер, качающихся в двух плоскостях, и двух газогенераторов, работающих на одну турбину. Четыре камеры сгорания позволили иметь параметры камеры по тяге, близкие к освоенному диапазону: 185 т тяги при достигнутых в других разработках 150 т. Кроме того, наличие четырех камер и двух ГГ позволяет организлвать автономную отработку этих агрегатов.


Рис.1. Двигатель РД-170 (без рулевых приводов; изображение увеличивается при нажатии) [1]

Турбонасосный агрегат располагается между камерами, и его ось параллельна оси камер. Такое решение позволяет оптимально разместить двигатель в ограниченных габаритах хвостового отсека РН.

Для обеспечения ремонтопригодности конструкции широко используются разъемные фланцевые соединения. Для обеспечения герметичности напряженных фланцев большого диаметра используются самоуплотняющиеся двухбарьерные уплотнения с металлическими прокладками.

При разработке двигателя было предусмотрено обеспечение возможности не менее двадцатикратного его использования в составе носителя, включая межполетные огневые проверки в составе блока. Гарантированные запасы работоспособности двигателей по ресурсу и количеству включений, сверх потребных в эксплуатации (перед последним использованием), должны составлять не менее 5, необходимых для одного полета.

В конце 80-х годов максимальное количество на одном экземпляре двигателя составило 21 испытание.

Таблица 1. Технические параметры двигателя
Параметр Значение Единицы
Тяга
у Земли 740 000 кг
7256 кН
в пустоте 806 000 кг
7904 кН
Пределы дросселирования тяги 100-40 %
Удельный импульс тяги
в вакууме 337 с
на уровне моря 309 с
Давление в камере сгорания24.5МПа
Расход компонентов топлива через двигатель 2393 кг/с
Коэффициент соотношение компонентов 2.63 m(ок)/m(г)
Регулирование соотношения компонентов ±7 %
Время работы 140-150 с
Масса двигателя
сухого 9755 кг
залитого 10750 кг
Габариты
высота 4015 мм
диаметр в плоскости среза сопел 3565 мм

Описание конструкции

Пневмогидравлическая схема

Описание


Рис.2.1. Пневмогидравлическая схема [11]
(адаптировано; условно показаны 1 КС и 1 ГГ)

Рис.2.2. Пневмогидравлическая схема [2]
(условно показаны 2 КС; изображение увеличивается при нажатии)

Рис.2.3. Пневмогидравлическая схема
(адаптировано; условно показаны 2 КС; изображение увеличивается при нажатии)

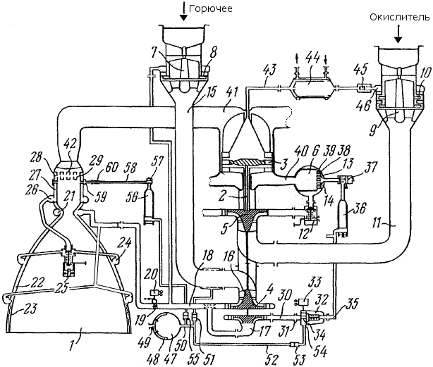
Двигатель содержит содержит камеру сгорания 1, турбонасосный агрегат 2, состоящий из турбины 3, двухступенчатого насоса горючего 4 и одноступенчатого насоса окислителя 5, два газогенератора 6, бустерный насос горючего 7, приводом которого является гидравлическая турбина 8, и бустерный насос окислителя 9, приводом которого является газовая турбина 10.

Бустерный насос окислителя (БНАО) 9 через трубопровод 11 соединен со входом насоса окислителя 5, выход которого через пускоотсечной клапан 12 соединен с коллекторной полостью 13 смесительной головки 14 газогенератора 6. На входе БНАО установлен фильтр окислителя.

Бустерный насос горючего (БНАГ) 7 через трубопровод 15 соединен со входом первой ступени 16 насоса горючего 4. Первая ступень насоса горючего 16 соединена со входом второй ступени 17 насоса горючего и через трубопровод 18, в котором установлен дроссель 19 с электроприводом 20, соединена с коллектором 21 камеры сгорания 1, из которого горючее распределяется по каналам 22 регенеративного охлаждения камеры сгорания 1. На входе БНАГ установлен фильтр горючего.

Каналы 22 регенеративного охлаждения сопла 23 через коллектор 24 соединены с пускоотсечным клапаном 25. Выход этого клапана соединен с коллектором 26, размещенным на цилиндрической части камеры сгорания. Выход коллектора 26 через регенеративные каналы 27 охлаждения цилиндрической части камеры сгорания соединен с полостью горючего 28 смесительной головки 29 камеры сгорания 1.

Вторая ступень 17 насоса горючего 4 (через который проходит 20% от общего расхода горючего) через трубопровод 30 соединена с основным входом 31 регулятора тяги 32, управляемого электроприводом 33 и имеющим на входе обратный клапан 34. Выход 35 регулятора тяги 32 соединен с ампулами 36 (2 шт.), заполненными пусковым горючим триэтилалюминием Аl(С2Н5)з. Выходы из этих ампул через пускоотсечные клапаны 37 соединены с полостью горючего 38 смесительных головок 39 газогенераторов 6. Выход газогенераторов 40 соединен с турбиной 3, выход которой через трубопроводы 41 соединен с полостью 42 смесительных головок 29 камер сгорания 1.

Кроме того, выход из турбины 3 через трубопровод 43, в котором установлен теплообменник 44 и клапан давления 45, соединен с коллектором турбины 46 привода бустерного насоса 9 окислителя.

Пневмогидравлическая схема ЖРД содержит также систему запуска, которая включает пусковой бачок 47 с разделительной мембраной 48, патрубок 49 подвода газа высокого давления и выходной патрубок 50. Выходной патрубок 50 пускового бачка 47 через заправочный клапан 51 соединен с трубопроводом 15 подвода горючего от бустерного насоса горючего 7. Кроме того, выходной патрубок 50 с одной стороны через трубопровод 52, в котором установлен обратный клапан 53, соединен со вторым входом 54 регулятора тяги 32, через который осуществляется запуск двигателя, а с другой стороны - через обратный клапан 55 - соединен с ампулой 56, заполненной пусковым горючим (гиперголем), выход которой через клапан 57 соединен с магистралью 58 подвода пускового горючего к форсункам зажигания 59 камеры сгорания. В магистрали 58 установлен жиклер 60, обеспечивающий дозированную подачу пускового горючего к форсункам зажигания.

Для уменьшения импульса последействия пускоотсечные клапаны горючего установлены между охлаждающими трактами сопла и камеры сгорания (клапаны 25), а также перед коллектором второго и третьего поясов завес (показаны на рис. 2.2).

Пневмоклапаны приводятся в действие гелием от блока баллонов высокого давления с помощью электроклапанов.

Работа двигателя
Запуск двигателя происходит по схеме "самозапуска". Предварительно приводы 20 и 33 устанавливаются в положения, обеспечивающие начальную установку регулятора тяги 32 и дросселя 19. Затем открывают подбаковые клапаны ракеты (на схеме не показаны) и под воздействием гидростатического напора и давления наддува компоненты топлива заполняют полости насосов окислителя и горючего до пускоотсечных клапанов 12 и 25 и обратного клапана 34 регулятора тяги 32 соответственно. Заполнение полостей двигателя горючим производится до пусковых ампул 36 и 56 через заправочной клапан 51, обратные клапаны 53 и 55. Пусковой бачок 47 также заполняется основным горючим. Такое состояние считается исходным для запуска двигателя.

При запуске двигателя производится наддув бачка 47 и вытеснение из него горючего, давление которого прорывает мембраны (не показаны) пусковых ампул 36 и 56. Одновременно производится открытие пускоотсечных клапанов 12 и 37 и 25 соответственно. В результате пусковое горючее из ампул 36 и 56 под действием давления, создаваемого пусковым бачком, поступает в газогенераторы (через открытые клапаны 37) и камеры (через обратные клапаны 57). Пусковое горючее, поступающее в газогенераторы, воспламеняется с кислородом, также поступающим в газогенераторы за счет предпускового наддува баков ракеты и гидростатического напора в них. Горючее, пройдя по охлаждаемому тракту камер сгорания, через фиксированное время поступает в смесительные головки камер сгорания 1. В течение этого времени задержки, в газогенераторах успевает начаться процесс горения и вырабатываемый генераторный газ раскручивает турбину 3 ТНА 2. После турбины окислительный газ поступает по четырем охлаждаемым газоводам 41 в смесительные головки 29 четырех камер сгорания, где воспламеняется с пусковым горючим, поступающим из форсунок зажигания 59 и впоследствии дожигается с поступающим в камеры горючим. Время поступления обоих компонентов в камеры сгорания подобрано так, что ТНА 2 успевает выйти на рабочий режим, пока в камерах 1 еще не установилось противодавление.

По мере роста давления за насосом горючего 17 пусковой бачок 47 автоматически выключается из работы посредством закрытия обратных клапанов 53 и 55, а питание горючим газогенераторов 6 переключается на насос 17 за счет программного открытия дросселя регулятора тяги 32.

Часть окислительного газа с выхода турбины отбирается на привод двухступенчатой газовой турбины 10 бустерного преднасоса 9. Этот газ, проходя через теплообменник 44, нагревает газ, идущий на наддув баков ракеты. После турбины 10 газ сбрасывается в выходной коллектор 11, где он смешивается с основным потоком окислителя и конденсируется. Использование газа, отбираемого с выхода турбины ТНА, в качестве рабочего тела привода турбины бустерного насоса окислителя позволяет уменьшить температуру в газогенераторе и соответственно снизить мощность турбины ТНА.

Часть горючего с выхода насоса 4 поступает на привод одноступенчатой гидравлической турбины 8 бустерного насоса горючего 7.

Небольшая часть жидкого кислорода отбирается из коллекторов газогенераторов и поступает в охлаждающий тракт корпуса турбины и газоводов.

На всем этапе запуска двигателя производится программное управление открытием дросселя регулятора тяги 32 и дросселя горючего 19 из положений начальной установки в положения, соответствующие номинальному режиму двигателя с помощью соответствующих приводов 33 и 20.

Таким образом осуществляется плавный запуск двигателя с выходом на основной режим через 3 секунды.

Перед выключением двигатели переводятся на режим конечной ступени, составляющий 50% от номинального.

Таблица 1а. Упрощенная циклограмма работы двигателя 11Д521 в составе блока "А" РН "Энергия"
(по программе полета 15 ноября 1988 года)
Время (с) от команды старт ("контакт подъема") Описание (Условие)
1 -3.2 Запуск, программный набор стартовой тяги.
2 -0.2 Выход на главную ступень тяги.
3 38 Начало программного дросселирования для уменьшения скоростного напора.
4 74 Окончание программного дросселирования для уменьшения скоростного напора.
5 108.5 Начало программного дросселирования для ограничения продольной перегрузки до 2.95 ед.
6 130 Перевод двигателя в режим конечной ступени тяги 49.5%.
7 142 Выключение двигателей.

Камера

Камера представляет собой паяно-сварной неразъемный узел и состоит из смесительной головки, камеры сгорания и сопла. Крепление камеры к газовому тракту осуществляется при помощи фланцевого соединения.

Рис.3. Камера [18],[15],[3]
(изображение слева увеличивается)
  1. смесительная головка
  2. форсунка
  3. докритическая часть камеры сгорания
  4. закритическая часть камеры сгорания

Таблица 2. Технические параметры камеры
Параметр Значение Единицы
Приведенная длина КС 1079.6 мм
Диаметр КС 380 мм
Диаметр минимального сечения сопла 235.5 мм
Степень сужения дозвуковой
части сопла
2.6
Диаметр выходного сечения сопла 1430 мм
Степень расширения сверзвуковой
части сопла
36.87
Длина камеры 2261 мм
Температура в КС 3676 K
Давление в КС 24.5 МПа
Давление в выходном сечении сопла 0.072 МПа
Коэффициент тяги
в вакууме 1.86
на уровне моря 1.71
Угол отклонения камеры 8 градусы

Рис.4. Схема подвода горючего в охлаждающий тракт камеры [8]:
  1. газовод
  2. среднее днище смесительной головки
  3. переднее (огневое) днище смесительной головки
  4. форсунки, образующие антипульсационные перегородки (всего 54 шт.)
  5. основные форсунки
  6. подвод воспламенительной смеси (4 форсунки, питаемые из отдельного коллектора)
  7. коллектор верхнего пояса завесы
  8. коллектор подвода горючего для охлаждения цилиндрической части КС
  9. коллектор среднего 26 и нижнего 27 поясов завесы
  10. главный коллектор подвода горючего к КС
  11. наружная силовая стенка КС
  12. коллектор отвода горючего из тракта охлаждения сопла
  13. внутренняя стенка КС
  14. коллектор подвода горючего для охлаждения выходной части сопла
  15. сопло
  16. горючее движется к срезу сопла по четным (условно) и возвращается по нечетным каналам
  17. подвод горючго для охлаждения выходной части сопла
  18. подвод горючго от насоса
  19. подвод горючго к среднему и нижнесу поясам завесы
  20. перегородка в каналах
  21. цилиндрическая часть КС
  22. смесительная головка
  23. центральная форсунка
  24. газовая полость смесительной головки
  25. перфорированное заднее днище смесительной головки
  26. средний пояс завесы
  27. нижний пояс завесы

Корпус камеры состоит из камеры сгорания и сопла. Корпус камеры включает в себя наружнюю силовую оболочку 11 и внутреннюю огневую стенку 13 с фрезерованными каналами, образующими тракт наружного регенеративного охлаждения камеры, имеющий три входа охладителя. Первый вход сообщен с трактом охлаждения критического сечения сопла, второй вход сообщен с трактом охлаждения выходной части сопла, а третий - с трактом охлаждения камеры сгорания. При этом первый выход сообщен с третьим входом, а первый вход, второй вход и подвод к двум нижним поясам щелевых завес объединены общим патрубком, разветвленным и размещенным снаружи камеры.

Внутреннее охлаждение обеспечивается тремя поясами щелевых завес в докритической части камеры сгорания. Через них на стенку подается около 2% горючего в виде пленок, испаряющихся и защищающих ее от тепловых потоков, которые в критическом сечении сопла достигают величин порядка 50 МВт/м2.

Cредства воспламенения выполнены из четырех равнорасположенных по окружности струйных форсунок 6, установленных за передним (огневым) днищем 3 в силовом корпусе камеры 11. Оси расходных отверстий струйных форсунок расположены под острым углом к выходу из силового корпуса и отклонены по кругу в поперечной плоскости от продольной оси силового корпуса в одинаковом направлении, причем ось расходного отверстия каждой струйной форсунки является скрещивающейся по отношению к осям расходных отверстий соседних с ней форсунок. Форсунки гидравлически объединены общим коллектором.

Все форсунки - двухкомпонентные с осевым подводом окислительного газа и тангенциальным подводом горючего. Форсунки, расположенные около огневой (внутренней) стенки камеры, выполнены с увеличенным гидросопротивлением по линии горючего по сравнению с другими форсунками за счет уменьшения диаметров отверстий подвода горючего, т.е. обеспечивающими уменьшенный расход горючего по сравнению с другими форсунками.

Рис.5. Схема форсунок [8]:
  1. подвод генератрного газа
  2. полость между двумя стенками, в которую подводится горючее
  3. тангенциально расположенные отверстия для подвода горючего
  4. область первичного смешения
  5. выходная конусообразная часть форсунки
  6. шнековый завихритель
  7. переднее (огневое) днище смесительной головки
  8. отверстия для подвода горючего
  9. полость горючего между передним и средним днищами смесительной головки
  10. среднее днище смесительной головки

Для подавления пульсаций давления начальная зона смесеобразования и горения, в которой, как правило, зарождаются высокочастотные колебания, разделена на семь примерно одинаковых объемов с помощью антипульсационных перегородок, состоящих из выступающих за огневое днище форсунок, которые неплотно прилегают друг к другу по своим цилиндрическим образующим. Благодаря этому резко повышаются собственные частоты колебаний в объемах между перегородками, смещаясь далеко от резонансных частот конструкции камеры сгорания. Кроме того, выступающие форсунки растягивают зону горения, что также уменьшает возможность возникновения высокочастотных явлений. Зазоры между неплотно прилегающими друг к другу выступающими форсунками оказывают дополнительное демпфирующее влияние.

Выступающая за огневое днище часть форсунки охлаждается горючим, проходящим по спиральным каналам (шнековому завихрителю) 6 внутренней втулки.

Остальные форсунки заглублены в огневое днище (их выходные полости 4 выходят в конические расточки 5 в огневом днище 7) и выполнены с различным гидросопротивлением при подводе горючего с разделением по массовому расходу горючего на три группы с возможностью обеспечения разницы расходов горючего между каждой группой от 3% до 10% на номинальном режиме. При этом форсунки (кроме расположенных около огневой стенки камеры) закреплены в огневом днище и среднем днище так, чтобы между собой соседствовали форсунки из различных групп путем циклического последовательного спирального повторения расположения форсунок с первой до последней группы.
Введение форсунок с разным расходом необходимо для того, чтобы снизить эффекты высокочастотных колебаний на рабочих режимах двигателя.

Рис.6.1 Схема расположения форсунок на смесительной головке [8]:
  1. форсунки, образующие антипульсационные перегородки
  2. наружная силовая стенка КС, припаянная к огневой стенке
  3. огневая стенка с фрезерованными каналами



Рис.6.2 Расположение форсунок на смесительной головке (изображения увеличиваются) [15], [19]

Узел качания

Каждая из четырех камер снабжена узлом качания. Сила тяги передается от камеры на силовую раму через карданный подвес. Подвод сработавшего на турбине генераторного газа в КС осуществляется через 12-слойный составной сильфон, размещенный внутри карданного подвеса. Сильфон бронирован специальными кольцами и охлаждается небольшим количеством холодного кислорода, протекающего между внутренней поверхностью сильфона и тонкой внутренней стенкой.


Рис.7. Внешний вид узла качания [5],[1],[15]


Рис.8. Схема узла качания [10]
Узел качания состоит из опорных колец 9 и 10, которые соответственно герметично соединены с камерой сгорания и газоводом (выходом из турбины), в которых находятся расходные элементы наружного проточного охлаждения 11 и 12, показанные также на виде А. Сильфон 13 расположен внутри карданного кольца 14. Карданное кольцо 14 через шарниры 15, образующие две поворотные оси, соединено силовыми кронштейнами 16 и 17 с опорными кольцами 9 и 10.

Внутри сильфона 13 имеются две оболочки 18 и 19, каждая из которых представляет собой тело вращения и консольно прикреплена соответственно к одному из упомянутых опорных колец, причем свободный конец оболочки 18 выполнен в виде ниппеля со сферическим концом 20 и установлен с зазором а в оболочке 19. Центр сферы ниппеля со сферическим концом 20 расположен на оси качания камеры. Величина указанного зазора выбрана такой, чтобы обеспечить расход охлаждающего рабочего тела (окислителя), необходимый для надежного охлаждения сильфона 13.

Сильфон 13 выполнен многослойным и снабжен защитными кольцами 21, вставленными между гофрами 22 сильфона 13. Снаружи защитных колец 21 установлен плотно прилегающий к ним кожух 23, выполненный из слоев цилиндрических спиралей 24, соединенных концами с опорными кольцами 9 и 10 сильфонного узла. Смежные слои спиралей прилегают друг к другу, а их витки навиты в противоположных направлениях.

Установка металлического силового кожуха в виде металлической цилиндрической спирали снаружи защитных колец 21 сильфона 13 повышает его прочностные свойства и в то же время ограничивает самопроизвольный изгиб сильфона 13 при повороте камеры двигателя на сравнительно большие углы (10-12°), тем самым повышая его устойчивость.

Турбонасосный агрегат (ТНА)

Турбонасосный агрегат выполнен по одновальной схеме и состоит из осевой одноступенчатой реактивной турбины, одноступенчатого шнекоцентробежного насоса окислителя и двухступенчатого шнекоцентробежного насоса горючего (вторая ступень используется для подачи части горючего в газогенераторы).

Таблица 3. ТНА
Параметр Значение Единицы
окислитель горючее
Давление на выходе из насоса 60.2 50.6 МПа
Расход компонента через насос 1792 732 кг/с
Диаметр импеллера 409 405 мм
К.п.д. насоса 0.74 0.74
Мощность на валу 175 600 77 760 л.с.
129.2 57.2 МВт
Скорость вращения вала 13 850 мин-1
Мощность турбины 257 360 л.с.
189.3 МВт
Давление на входе в турбину 50.9 МПа
Количество ступеней турбины 1
Степень понижения давления на турбине 1.94
Температура на входе в турбину 772 К
К.п.д. турбины 0.79
Рис.9. ТНА [18]
(изображение увеличивается)

На основном валу с турбиной находится насос окислителя, соосно с которым на другом валу расположены две ступени насоса горючего. Валы насосов окислителя и горючего соединены зубчатой рессорой для разгрузки вала от температурных деформаций, возникающих вследствии большой разницы температур рабрчих тел насосов, а также для предотвращения замерзания горючго.


Рис.10. Вал с турбиной, шнекоцентробежным колесом насоса окислителя,
подшипниками и импеллерными уплотнениями [5]

Для защиты радиально-упорных подшипников валов от чрезмерных нагрузок разработаны эффективные авторазгрузочные устройства.

Турбина

В двигателе замкнутой окислительной схемы особое значение имеет защита агрегатов кислородных трактов ТНА от возгорания при воздействии случайных инициаторов возгорания. Из-за исключительно высокого давления в тракте двигателей 11Д520 и 11Д521, а также высоких механических нагрузок, характерных для мощного двигателя, проблема защиты от вогорания при их создании была особенно острой.

Для предотвращения возгорания из-за поломок элементов конструкции или трения вращающихся деталей о неподвижные (вследствие выборки зазоров от деформаций или наклепа на сопрягаемых поверхностях от вибрации) зазор между лопатками соплового аппарата и ротора сделан относительно большим, а кромок лопаток - относительно толстыми.

Чтобы исключить возгорание и разрушение деталей газового тракта турбины, в конструкции применены никелевые сплавы, включая жаропрочные для горячих газовых магистралей. Статор и выхлопной тракт турбины принудительно охлаждаются холодным кислородом. В местах малых радиальных или торцевых зазоров используются разного рода теплозащитные покрытия (никелевые для лопаток ротора и статора, металлокерамического для ротора), а также серебряные или бронзовые элементы, исключающие возгорание даже при возможном касании вращающихся и неподвижных деталей турбонасосного агрегата.

Для уменьшения размеров и массы посторонних частиц, могущих привести к возгоранию в газовом тракте турбины, на входе в двигатель был поставлен фильтр с ячейкой 0.16х0.16 мм.

Насос окислителя

Высокое давление жидкого кислорода и, как следствие, повышенная орпсность возгорания обусловили конструктивные особенности насоса окислителя.

Так, вместо плавающих уплотнительных колец на буртах крыльчатки (обычно используемых на менее мощных ТНА) применены неподвижные щелевые уплотнения с серебряной накладкой, поскольку процесс "всплывания" колец сопровождается трением в местах контакта крыльчатки с корпусом и может привести к возгоранию насоса.

Шнек, крыльчатка и торовый отвод нуждаются в особенно тщательном профилировании, а ротор в целом - в особых мерах по обеспечению динамической сбалансированности в процессе работы. В противонм случае вследствие больших пульсаций и вибраций происходят разрушения трубопроводов, возгорания в стыках вследствие взаимного перемещения деталей, трения и наклепа.

Для предотвращения возгорания из-за поломок элементов конструкции (шнека, крыльчатки и лопаток направляющего аппарата) в условиях динамического нагружения с последующим возгоранием из-за затирания обломков использованы такие средства, как повышение конструктивного совершенства и прочности за счет геометрии, материалов и чистоты отработки, а также введение новых технологий: изостатическое прессирования литых заготовок, применение гранульной технологии и другие виды.

Бустерный насосный агрегат окислителя (БНАО)

Бустерный насос окислителя состоит из высоконапорного шнека и двухступенчатой газовой турбины, привод которой осуществляется окислительным газом, отбираемом после основной турбины с последующим перепуском его на вход в основной насос.


Рис.11а. Упрощенная схема бустерного насосного агрегата окислителя [16]
(изображение увеличивается).
Составной корпус, состоящий из соединенных фланцевым соединением корпусов 1 и 2, имеет закрепленную на силовых ребрах 3 втулку 4, внутренняя полость которой закрыта обтекателем 5. Внутри втулки 4 размещен шарикоподшипник 6, посаженный на рабочем колесе насоса, выполненным в виде шнека 7. Обтекателем 5 поджат вкладыш 8, установленный во втулке 4. Во вкладыше 8 имеются отверстия 9, сообщающие полость вкладыша 8 с каналом 10 высокого давления.

Корпус 2 содержит обтекатель 11, закрепленный в нем с помощью спрямляющих лопастей 12. В этом обтекателе установлен шарикоподшипник 13, закрепленный с помощью гайки 14 на шнеке 7. Шнек имеет лопасти 15. По этим лопастям шнек вставлен в рабочее колесо турбины 16 (которая фактически состоит из двух ступеней, а не из одной, как изображено на упрощенной схеме) и сварен с ним, т.е. рабочее колесо турбины закреплено на перефирийной части рабочего колеса насоса.

Рабочее колесо турбины имеет профилированные лопатки 17, межлопаточный пространства которых сообщены соплами в сопловом аппарате с входным коллектором. Подвод продуктов сгорания с избытком кислорода производится через входной патрубок 18. Выходная полость турбины, выполненная в корпусе 2 в виде кольцевой цилиндрической полости, сообщается каналами 19 с коническим кольцевым патрубком 20, который отверстиями 21 сообщается с цилиндрическим выходом 22.

При работе БНАО на вход насоса подается жидкий кислород (показано стрелкой), а продукты сгорания с избытком кислорода, отбираемые из газовода после турбины основного ТНА (см. ПГС на рис. 2), подаются на вход турбины (показано стрелкой). Продукты сгорания далее попадают на профилированные лопатки 17 турбины, обеспечивая подачу жидкого кислорода шнеком 7. За турбиной продукты сгорания через отверстия 19 попадают в полость патрубка 20, а затем через отверстия 21 на выход насоса, где происходит их смешивание с жидким кислородом и конденсация. Для решения проблемы возникновения низкочастотных пульсации при конденсации газа применено дроблении потока, сбрасывающего газ.

Разгрузка шнека 7 от действий осевых сил обеспечивается подачей жидкого кислорода высокого давления (см. рис. 2.2) через канал высокого давления 10 в полость высокого давления авторазгрузочного устройства. В месте малого зазора между рабочим колесом и корпусом в полости высокого давления авторазгрузочного устройства используется серебряная накладка, предтаращающая возгорание при возможном касании.

В магистрали подвода продуктов сгорания к турбине БНАО установлен впервые разработанный клапан "горячего газа" (45 на рис.2.1), работающий в условиях кислородного генераторного газа с высокой температурой и при высоком давлении.


Рис.11б. Ротор бустерного насосного
агрегата окислителя [5]

Рис.11в. Бустерный насосный агрегат окислителя [18]
(изображение увеличивается)

Бустерный насосный агрегат горючего (БНАГ)

Бустерный насос горючего состоит из высоконапорного шнека и одноступенчатой гидравлической турбины, работающей на керосине, отбираемом после основного насоса.

Конструктивно бустерный насос горючего аналогичен бустерному насосу окислителя со следующими отличиями:

  • одноступенчатая гидротурбина работает на горючем, отбираемым с выхода насоса горючего основного ТНА;
  • отвод горючего высокого давления для разгрузки шнека от действий осевых производится из входного коллектора гитротурбины БНАГ.


Рис.12. Бустерный насосный агрегат горючего [5]

Газогенератор и газовый тракт (газоводы)

Таблица 4. Газогенератор
Параметр Значение Единицы
Внутренний диаметр ГГ 300 мм
Давление в ГГ 53.5 МПа
Расход топлива через ГГ 836 кг/с
Соотношение компонентов 54.3 m(ок)/m(г)
Количество ГГ 2
Рис.13. Газогенератор [9]

Однозонный газогенератор, вырабатывающий газ с избытком окислителя для привода турбины, состоит из корпуса паяно-сварной конструкции со сферообразной внешней оболочкой и жестко связанным с ней выходным патрубоком, цилиндрической огневой камерой диаметром 300 мм и смесительной головки, оснащеной двухкомпонентными и двухкаскадными по окислителю форсунками, конструкция которых выполнена с зоной горения и зоной балластировки газа внутри форсунок. Фактически каждая форсунка образует вместе с каналом толстостенного огневого днища, в котором она расположена, индивидуальный двухзонный газогенератор. В результате обеспечивается равномерность температурного поля по поперечному сечению общего газового потока, формируемого такими форсунками, при высокой расходонапряженности.


Рис.14а. Схема газогенератора [6],[7]:
1 - сферообразная силовая оболочка; 2 - выходной патрубок; 3 - крышка; 4 - втулка; 5 - огневое днище; 6 - сквозные камеры в огневом днище; 7 - полость окислителя; 8 - проставка (внешняя стенка огневой камеры); 9 - кольцевая полость; 10 - оболочка (внутренняя стенка) огневой камеры; 11 - огневая камера; 12 - смесительный модуль (форсунка); 13 - корпус смесительного модуля; 14 - канал горючего; 15 - кольцевой канал окислителя; 16 - смесительная камера; 17 - патрубок подвода горючего; 18 - полость горючего; 19 - патрубок подвода окислителя; 20 - окна во втулке 4; 21 - тангенциальные отверстия подвода окислителя; 22 - пазы на наружной поверхности корпуса форсунки; 23 - калиброванные каналы подвода горючего; 25 - тангенциальные отверстия подвода горючего; 26 - конические расточки; 27 - полость охлаждения; 28 - каналы, образующие полость охлаждения; 29 - отверстия подвода окислителя в полость охлаждения; 30 - кольцевая щель выхода окислителя из полости охлаждения.

При работе газогенератора горючее из патрубка 17 заполняет полость 18 и подается через калиброванные каналы 23 и тангенциальные отверстия 25 в каналы 14 и далее в смесительные камеры 16. Окислитель через патрубок 19 подвается в кольцевую полость 9, через окна 20 заполняет полость 7. Часть окислителя через тангенциальные отвертия 21 попадает в смесительную камеру 16, где, смешиваясь с горючим, вызывает его возгорание. Через пазы 22 окислитель также подается в камеру 6, обеспечивая смешивание высокотемпературных продуктов сгорания. Далее в огневой камере 11 происходит охлаждение высокотемпературных продуктов сгорания с одновременным испарением жидкого и нагревом газообразного окислителя. На выходе из газогенератора к продуктам газогенерации подмешивается окислитель, подаваемый через кольцевую щель 30.


Рис.14б. ТНА с газогенераторами [19]

Газогенератор обеспечивает на выходе окислительный газ в широком диапазоне температур (от 190 до 600°С), что позволяет регулировать тягу двигателя от 30 до 105% номинала.

Соединение корпуса и смесительной головки осуществляется при помощи разъемного фланца. Для обеспечения герметичности используется уплотнение с металлическими прокладками.

Рис.15. Газогенератор [9]:
  1. фланец
  2. прокладка
  3. проставка
  4. трубопровод
  5. патрубок
  6. днище сферическое
  7. секция замыкающая
  8. днище огневое
  9. штуцер
  10. кольцо
  11. корпус
  12. штуцер
  13. штуцер

Для обеспечения приемлемого уровеня температурных напряжений в несущих корпусных деталях, газоводы между газогенераторами, турбиной и камерами охлаждаются кислородом.

Для предотвращения возгорания в газоводах, узлах качания смесительной головки камеры, клапане окислителя установлены повышенные (по сравнению с менее мощными двигателями) требования чистоты газовых трактов и недопущение наличия органических веществ.

Ампула с пусковым горючим

Ампула содержит корпус 1 с входным 2 и выходным 3 патрубками мембранных узлов 4 и 5, установленных внутри корпуса 1, и средство для заправки корпуса пусковым горючим 6. Каждый мембранный узел 4, 5 содержит поршень 7, который может быть выполнен за одно целое с мембраной 8 или в котором мембрана 8 герметично соединена с его наружной поверхностью. Поршень 7 установлен в направляющей 9 корпуса по скользящей посадке.

Периферийный участок мембраны 8 герметично заварен с корпусом 1 под направляющей 9. Поршень 7 подсоединен к хвостовику 10, который может быть выполнен цилиндрическим или какой-либо иной формы и размещен во втулке 11. Втулка 11 на кронштейнах 12 прикреплена к корпусу 1 ампулы. Втулка 11 имеет пружинный фиксатор 13, например выполненный в виде пружинящего кольца, а хвостовик 10 выполнен с кольцевой канавкой 14.

При срабатывании мембранного узла пружинный фиксатор 13 ограничивает перемещение хвостовика 10. Хвостовик 10 выполнен с отверстиями 15 для стравливания газа из застойной зоны при заправке ампулы. Мембрана 8 со стороны входа 2 выполнена тонкой в форме кольцевой перемычки 16, разрываемой при взаимодействии с рабочей средой на диаметре D. Размер D несколько меньше диаметра поршня 7. В месте соединения мембраны 8 с поршнем 7 она выполнена с меньшей толщиной для того, чтобы исключить задиры при движении поршня 7 в направляющей 9 корпуса 1.

Рис.16. Схема ампулы с пусковым горючим [17]
(изображение увеличивается).

В конструкцию введено средство для заправки корпуса пусковым горючим 6, которое установлено в перегородке 17 корпуса 1 и состоит из двух заглушек - заправочной заглушки 18 и сливной заглушки 19, которые установлены соответственно в заправочном 20 и сливном 21 каналах. Каждая из заглушек имеет резьбовую пробку 22, герметизирующую пробку 23, уплотнительную прокладку 24 и гайку 25. Резьбовая пробка 22 имеет расходное отверстие 26.

Заправка ампулы пусковым горючим осуществляется следующим образом. На собранной ампуле до установки гаек 25 и герметизирующих пробок 23 не до конца ввертывают резьбовые пробки 22, таким образом, чтобы обеспечивалось открытие проходного сечения заправочного 20 и сливного 21 каналов через отверстие 26. Производят заправку пусковым топливом, подавая его через заправочный канал 20 во внутреннюю полость корпуса 1 между мембранными узлами 4 и 5, а затем через сливной канал на слив. После окончания заправки ампулы ввертывают до упора резьбовые пробки 22, после чего сливают пусковое горючее перед резьбовой пробкой 22 заправочной заглушки 18 и после резьбовой пробки 22 сливной заглушки 19. После этого устанавливают герметизирующие пробки 23, уплотнительные прокладки 24 и гайки 25. После этого ампула готова к установке на ракетный двигатель. Во внутренней полости ампулы в корпусе 1 между мембранами 8 образуется газовая подушка в результате сборки и заправки ампулы. Наличие газовой подушки способствует обеспечению надежности ампулы при хранении и эффективному движению с ускорением поршня 8 при подаче давления среды на вход ампулы.

Устройство работает следующим образом. При воздействии компонента высокого давления со стороны входа на мембранный узел 4 происходит деформация мембраны 8, а потом и разрушение по окружности D. При неравномерном разрушении мембраны 8, с появлением негерметичности, давление перед поршнем 7 не падает, благодаря работе дросселирующей щели, образованной направляющей корпуса 9 и поршнем 7, поршень 7 продолжает двигаться, а после полного разрушения мембраны 8 он разгоняется. Движение поршня 7 с ускорением обеспечивается в связи с наличием усилия от перепада давлений, действующих на площадь поверхности, определяемую диаметром D.

Длина "А", на которой поршень двигается с ускорением и зазор между поршнем 7 и направляющей 9 выбраны такими, чтобы обеспечить гарантированное срезание мембраны 8 по всему периметру, требуемую задержку раскрытия проходного сечения магистрали после среза мембраны 8, разгон поршня 7, необходимый для срабатывания пружинного фиксатора 13. Размеры перемычек мембран 8 определяется исхода из заданного давления, обеспечивающего разрушение перемычки.

Далее, перемещающийся хвостовик 10 вдоль по потоку фиксируется с помощью пружинного фиксатора 13, при этом гидравлические характеристики открытого мембранного узла 4 воспроизводятся с высокой точностью, так как в потоке компонента отсутствуют элементы конструкции с неопределенным положением.

После открытия мембранного узла 4 за счет возросшего давления пускового горючего аналогичным образом открывается мембранный узел 5.

Модификации

Отличия между РД-170 и РД-171

В двигателях РД-170 и РД-171 применены разные варианты качания камер и органов управления отклонением ими.

Камеры двигателя РД-170 в составе блока А ракеты "Энергия" качаются в двух плоскостях: в радиальной плоскости, проходящей через продольную ось двигателя и ось камеры, и в перпендикулярной к ней тангенциальной плоскости. Такая схема управления более эффективна в структуре пакета ракеты "Энергия", но требует более мощных рулевых машин, которые преодолевают нагрузку, создаваемую набегающим аэродинамическим потоком на выступающую часть сопла камеры сгорания за параметр внешнего обвода блока при ее отклонении в радиальном направлении.

Камеры сгорания двигателя РД-171 первой ступени "Зенита" отклоняются при управлении только в тангенциальной плоскости качения. Сопла камер не выходят в обтекающий ступень аэродинамический поток и не испытывают его нагрузки. Рулевые машины существенно менее мощны. Эффективность управления такого варианта достаточна для ракеты "Зенит".

Рис.17. РД-170
Каждую камеру качают две рулевые
машины (на фото - зеленого цвета)
Рис.18. РД-171М
Каждую камеру качает одна рулевая
машина (на фото - слева от ближней камеры)

Остальные системы двигателей унифицированы.

РД-173 и РД-171М

На завершающем этапе отработки двигателей В.П. Глушко инициировал разработку более совершенной конструкции двигателя, которая по сравнению с двигателем РД-170 (РД-171) обеспечивала более высокую тягу (форсирование на 5 %) и в которой должны быть реализованы мероприятия по снижению динамической напряженности работы агрегатов подачи. Соответствующая конструкторская документация была разработана и двигатель, в конечном итоге, получил название РД-173.

До 1996 г. было изготовлено 28 двигателей, которые прошли разноплановую отработку. В двигателях РД-173 используется более совершенная конструкция агрегатов подачи, в первую очередь основного ТНА. Серьезной переделке подверглась система регулирования двигателя РД-170. В процессе отработки РД-173 было подтверждено, что запуск двигателя, его работа на всех предусматриваемых режимах характеризуется устойчивой работой всех агрегатов и систем с обеспечением требуемых характера запуска и точности поддержания параметров без задействования дросселей окислителя. Исключение из состава двигателя дросселей окислителя и соответственно двух приводов упростило его конструкцию, повысило надежность и снизило массу двигателя. Была внедрена конструкция сильфонов узла качания из никелевого сплава, что также повысило надежность двигателя.

Накопленный опыт настройки системы управления двигателем в процессе контрольно-технологических испытаний с использованием внешних обратных связей позволил в процессе отработки двигателя РД-173 перейти к существенно более простой системе управления, состоящей из двух цифровых приводов, управляющих непосредственно регулятором тяги и дросселем СОБ. Упрощение системы регулирования увеличило надежность двигателя, снизило его массу.

В двигателе РД-173 с учетом большой положительной статистики работы газогенераторов смесительные головки выполнены приварными в отличие от фланцевого соединения в двигателях РД-170 (РД-171), где предусматривалась возможность оперативной замены головки после контрольно-технологического испытания. Это, а также другие решения, полученные при отработке двигателя РД-173, были использованы при разработке двигателя РД-180.

Заказы на изготовление двигателей РД-171 прекратились в 1995 г. Вместе с тем НПО Энергомаш продолжало изготавливать более совершенную модификацию двигателей РД-170 (РД-171) - двигатель РД-173. С 1995 г. НПО Энергомаш поставляло двигатели РД-171 для программы «Морской старт», которые дорабатывались из двигателей РД-170, ранее изготовленных для первых ступеней РН «Энергия». Данные двигатели создали задел для реализации программы до 2004 г. Для дальнейшего развития программы необходимым стало возобновление производства двигателей в НПО Энергомаш. Учитывая накопленный опыт отработки двигателей РД-173 и РД-180, в которых внедрены решения, направленные на повышение надежности и обеспечение форсирования на 5%, НПО Энергомаш предложило изготавливать двигатели РД-173 для программы «Морской старт». Данное предложение было поддержано головным разработчиком РН «Зенит» ГКБ «Южное» и одобрено заказчиком РН. Двигатель получил обозначение РД-171М. Сертификация двигателя РД-171М завершена 5 июля 2004 г. На сертификационном двигателе проведено 8 испытаний продолжительностью 1093,6 сек, причем последнее испытание (сверх плана) – на режиме 105%. Первый товарный двигатель РД-171М поставлен в Украину 25 марта 2004г после проведения КТИ продолжительностью 140 сек.

В 2006 г. двигатель РД-171М сертифицирован для применения в составе РН "Зенит-М" при реализации государственных программ РФ.

Система технической диагностики

Система технической диагностики разрабатывалась параллельно с созданием двигателя как средство оценки техническою состояния двигателя и прогноза его работоспособности. Кроме того, она использовалась для анализа отказов и дефектов, поскольку давала возможность более глубоко исследовать взаимоувязку параметров, их статистические характеристики.

Система представляет собой совокупность технических средств, методов диагностирования и объекта диагностирования, а также организационно-технических мероприятий для сбора, преобразования, хранения, анализа информации и принятия решения о состоянии двигателя. Система должна обеспечивать установление места и причин возникновения неисправностей.

Система технической диагностики имеет следующие подсистемы:

  • информационно-измерительная;
  • фукционного диагностирования;
  • тестового диагностирования как неразрушающего метода контроля состояния.

В ходе разработки системы диагностирования созданы:

  • методика контроля стабильности характеристик запуска, основного режима и режима конечной ступени. Методика предназначалась для оценки значений медленно меняющихся параметров и их скоростей, полученных при огневых испытаниях с учетом поля допустимых границ;
  • методика допускового контроля параметров на основном режиме и режиме конечной ступени; предназначалась она для оценки соответствия параметров двигателя, измеренных при огневых испытаниях, расчетным значениям, полученным с использованием математических моделей и модельных характеристик агрегатов по их автономным испытаниям, что определяется нахождением параметров в поле допусков;
  • методика контурной увязки медленно меняющихся параметров; предназначалась для оценки функционирования двигателя в целом и его контуров на стационарных режимах путем сравнения измеренных и расчетных значений медленно меняющихся параметров в характерных точках;
  • методика оценки устойчивости и определения виброакустических характеристик; предназначалась для контроля уровня пульсации и вибраций на соответствие статистическим допускам и оценки устойчивости камеры сгорания и газогенератора, с анализом физической природы спектров и определением декрементов затухания колебаний;
  • методика оценки величины выработанного ресурса сборочных единиц; основана она на теории многоцикловой усталости материалов и учитывает динамические нагрузки, вызываемые пульсациями и вибрациями; оценивалось интегральное значение усталостной повреждаемости при контрольно-технологических испытаниях, прогнозировалось ее значение при эксплуатации и их сумма сравнивалась с предельным значением, определяемым по результатам многоресурсовых испытаний;
  • методика параметрического контроля - использовалась при диагностировании на стационарных режимах в целях локализации неисправностей; анализ основан на оценках функциональных характеристик агрегатов;
  • комплекс неразрушающих методов контроля.

В серийном производстве каждый двигатель после изготовления и полного цикла контроля проходит автономные контрольные технологические испытания, которые проводятся на огневом стенде завода-изготовителя с запуском двигателя по полной полетной программе или несколько ускоренной. После огневых стендовых испытаний двигатель может претерпевать переборку. Это значит, что для того, чтобы убедиться в сохранении качества конструкции после огневых испытаний, производится частичная разборка отдельных агрегатов.

Галерея

Использованные источники информации

  1. Губанов Б.И. Триумф и трагедия 'Энергии'
  2. George P. Sutton. Rocket Propulsion Elements, 7th edition
  3. Каторгин Б. И. Перспективы создания мощных жидкостных ракетных двигателей
  4. George P. Sutton "History of Liquid Propellant Rocket Engines"
  5. Проспект НПО "Энергомаш"
  6. Описание изобретения к патенту Российской Федерации RU 2159351. Газогенератор (US Patent 6244040).
  7. Описание изобретения к патенту Российской Федерации RU 2159349. Модуль-газогенератор (US Patent 6212878).
  8. Описание изобретения к патенту Российской Федерации RU 2158841. Камера ЖРД и ее корпус (US Patent 6244041).
  9. Добровольский М.В. Жидкостные ракетные двигатели. - М.: МГТУ, 2005.
  10. Описание изобретения к патенту Российской Федерации RU 2159352. Узел качания Камеры ЖРД с дожиганием.
  11. Описание изобретения к патенту Российской Федерации RU 2158839. ЖРД с дожиганием турбогаза (US Patent 6226980).
  12. Описание изобретения к патенту Российской Федерации RU 2158840. Корпус камеры ЖРД (US Patent 6442931).
  13. Рахманин В. Ф. К истории создания двигателя первой ступени ракеты-носителя "ЭНЕРГИЯ" (часть 2, часть 3).
  14. Рахманин В. Ф. Главный конструктор ракетных двигателей.
  15. Ракетный двигатель РД-170. Видеофильм (размер 46 Мб, длительность 6 мин. 52 с.)
  16. Описание изобретения к патенту Российской Федерации RU 2106534. Бустерный турбонасосный агрегат.
  17. Описание изобретения к патенту Российской Федерации RU 2159353. Ампула с пусковым горючим для зажигания компонентов топлива ЖРД.
  18. Трофимов В.Ф. Осуществление мечты.- М.: Машиностроение-Полет, 2001.
  19. НПО «Энергомаш» имени академика В.П.Глушко. Путь в ракетной технике. Под ред. Б.И.Каторгина. М., Машиностроение-Полет, 2004.